Herramientas especiales, equipos de comprobación y medición y dispositivos auxiliares necesarios

Desmontar
- Desmontar la guantera.
- Desmontar el elemento de freno para la tapa de la guantera.
- Depositar la guantera sobre una superficie blanda.
- Apretar la carcasa de la guantera -dirección de la flecha A- con la ayuda de unos alicates de cremallera hasta que el perno de bisagra se haga visible.
- Expulsar los pernos -2--flecha B- con la ayuda de unos alicates.
- Retirar la tapa -1- de la guantera.
Montar
El montaje se efectúa en el orden inverso.

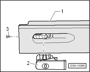
Manilla de la guantera: desmontar y montar
Desmontar
- Abrir la tapa de la guantera.
- Desenroscar el tornillo -3- de la maneta -2- en la tapa.
- Desmontar la maneta -2- de la tapa de la guantera -1-.
Montar
El montaje se realiza en orden inverso a las operaciones descritas en el desmontaje.

Elemento de frenado de la tapa de la guantera: desmontar y montar
Desmontar
- Desmontar la guantera.
- Desmontar el perno de bisagra -1-.
- Desbloquear el freno -2- en sentido horario -flecha- y extraerlo.
Montar
El montaje se efectúa en el orden inverso.

Compartimento portaobjetos del lado del conductor: desmontar y montar
Desmontar
- Liberar las pestañas -1- en la dirección de las -flechas-.
- Abatir el compartimiento portaobjetos -3- en la dirección de la flecha -A-.
- Liberar los pasadores -2- en la dirección de la flecha -B-.
Montar
El montaje se efectúa en el orden inverso.

Guarnecido de la palanca del freno de mano: desmontar y montar
Revestimiento de la palanca del freno de mano: desmontar y montar
Herramientas especiales, equipos de comprobación y medición y dispositivos auxiliares necesarios
Desmontar:
- Situar la palanca del freno de mano en la posición de reposo, hacia abajo.
- Desencajar el guarnecido -1- de la palanca del freno de mano con la palanca -U30800- y separarlo de la palanca desplazándolo hacia adelante.
Montar:
El montaje se efectúa en orden inverso, teniendo en cuenta lo siguiente:
- Comprobar la posición correcta del revestimiento de la palanca del freno de mano.

Empuñadura de la palanca del freno de mano: desmontar y montar
Herramientas especiales, equipos de comprobación y medición y dispositivos auxiliares necesarios
Desmontar:
- Situar la palanca del freno de mano en la posición de reposo, hacia abajo.
- Desmontar el revestimiento de la palanca del freno de mano.
- Realizar una marca cuidadosamente en el botón de desbloqueo de la palanca del freno de mano, según las medidas indicadas.
- Taladrar el botón con una broca Ø 10 mm hasta una profundidad de 4 mm según las medidas indicadas.
 ¡Atención!
 
  ¡Atención!
En caso de rotura de la varilla de plástico es necesario sustituir el conjunto de palanca de freno completo.

- Retener la varilla de plástico de fijación del botón -flecha- con la mano para evitar que se rompa.

- Introducir una varilla o punzón de diámetro reducido -flecha A- por la parte inferior del orificio, levantar la pestaña -flecha B- y desplazar el botón hacia adelante -flecha C-.

- Retirar la empuñadura de la palanca del freno de mano empleando el extractor -T10055-.
 Aviso
  
AvisoLa empuñadura de la palanca del freno de mano no puede volver a utilizarse.
Montar:
 Aviso
  
AvisoEl procedimiento de montaje de la empuñadura en la palanca del freno de mano es diferente para las empuñaduras con acabado en piel.
Empuñadura de la palanca del freno de mano con acabado en piel:

- Introducir la nueva empuñadura en la palanca del freno de mano hasta el tope -flecha-.
En el caso de que la nueva empuñadura de la palanca del freno de mano no haya encajado hasta el tope:

- Situar el calentador cartuchos -VAG 1939A- en la empuñadura de la palanca del freno de mano y calentarla durante 15 minutos.
- Introducir la empuñadura en la palanca del freno de mano hasta el tope.
Empuñadura de la palanca del freno de mano con acabado en plástico:

- Introducir la empuñadura en la palanca del freno de mano hasta el tope con el pieza de presión -T40015-.
El montaje se efectúa en orden inverso, teniendo en cuenta lo siguiente:

- Retener la varilla de plástico de fijación del botón -flecha- con la mano para evitar que se rompa.
- Encajar un botón de desbloqueo de la palanca del freno de mano nuevo hasta el tope.
- Comprobar el funcionamiento del botón de desbloqueo y del freno de mano.

 Cuadro de montaje - Red de separación
 Cuadro de montaje - Red de separación
	 Soporte anteriores del gancho para la red 
de separación: desmontar y montar
 Soporte anteriores del gancho para la red 
de separación: desmontar y montar
	 Cuadro de montaje - Consola central
 Cuadro de montaje - Consola central
	 Seat Leon (2013-2020) Manual de Taller. Compresor de climatización: desmontar y montar
 Seat Leon (2013-2020) Manual de Taller. Compresor de climatización: desmontar y montar
	 Seat Leon (2013-2020) Manual de Taller. Patín: desmontar y montar
 Seat Leon (2013-2020) Manual de Taller. Patín: desmontar y montar