Cuadro de montaje - Lavaluneta
Cuadro de montaje - Lavaluneta, vehículos sin radiador adicional izquierdo

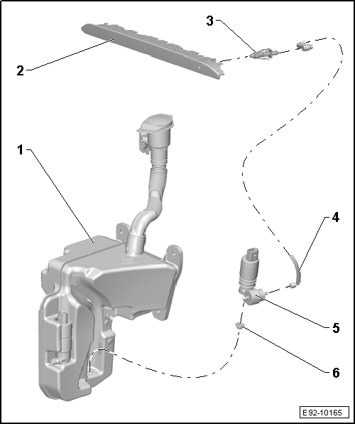
1 - Depósito del lavacristales y lavafaros
2 - Tercera luz de freno
3 - Eyector
4 - Tubería de agua
5 - Bomba del lavaparabrisas y lavaluneta -V59-
6 - Boquilla de estanqueidad
Cuadro de montaje - Lavaluneta, vehículos con radiador adicional izquierdo

1 - Tubería de agua
2 - Eyector
3 - Tercera luz de freno
4 - Boca de llenado del depósito del lavacristales y lavafaros
5 - Depósito del lavacristales y lavafaros
6 - Boquilla de estanqueidad
7 - Bomba del lavaparabrisas y lavaluneta -V59-
Depósito de líquido lavacristales: desmontar y montar
"Depósito de líquido lavacristales: desmontar y montar"
Bomba del lavaluneta: desmontar y montar
"Bomba del lavacristales: desmontar y montar"
Eyector: desmontar y montar
El eyector del lavaluneta va montado en la lámpara de la luz de freno elevada -M25-.
Desmontar
- Desmontar la lámpara de la tercera luz de freno -M25- "Luz de freno elevada: desmontar y montar"
- Desbloquear los dos encastres -flechas- y tirar del eyector -1- hacia atrás para extraerlo de la lámpara de la tercera luz de freno -M25-.
Montar
- El montaje se realiza siguiendo el orden inverso de operaciones.
- Eyector: ajustar.

Eyector: ajustar
AvisoSi el área de proyección del chorro es irregular debido a impurezas en el eyector, hay que desmontar el eyector y enjuagarlo con agua en el sentido opuesto al de la proyección. A continuación se podrá limpiar con aire comprimido en el sentido contrario al de la eyección. No emplear objetos para la limpieza de los eyectores.
Regulación de los eyectores del lavaluneta.
Lavafaros
Faros
Seat Leon (2013-2020) Manual de Taller. Servomotor de la trampilla de temperatura izquierda -V158-: desmontar y
montar
Honda Civic. Sistema de teléfono manos libres (Modelos con sistema de sonido con pantalla
en color)