Seat Leon (2013-2020) Manual de Taller: Cuadro de montaje - Carcasa y mecanismo de
accionamiento del cambio

1 - Tornillo cónico
2 - Eje abridado izquierdo
- Con muelle de compresión y anillo cónico
- Desmontar y montar
- Ensamblar, tracción delantera
- Ensamblar, tracción total
3 - Anillo de seguridad
- Para la tapa de cierre de chapa
- Se suprime para tapas de cierre de plástico
4 - Tapa de cierre
- De chapa o de plástico
- Si es de chapa va afianzada con un anillo de seguridad
- Si es de plástico no lleva anillo de seguridad
- Consultar el
→ Catálogo electrónico de piezas de recambio (ETKA) para
asignar las piezas
5 - Anillo de seguridad
- Para el cojinete ranurado de bolas del árbol primario
- En las cajas de cambios con medidas de refuerzo (cambio manual 0FB) hay
que volver a determinar el grosor
6 - Conmutador de las luces de marcha atrás -F4-
- Con retén imperdible
- 20 Nm
7 - Retén
- No se monta en todos los cambios
- Si lo llevara, sustituir tras el desmontaje
8 - Tornillo de descarga de aceite
9 - Retén
- Sustituir tras el desmontaje
10 - Tornillo
11 - Sensor de la posición de punto muerto -G701-
- Para vehículos con sistema Start-Stop
12 - Tornillo de retención
- Para el eje selector
- Sustituir el tornillo de retención cuando se desmonte
- Tornillo de retención de metal o de plástico
- Tornillo de retención de metal: 45 Nm
- Tornillo de retención de plástico: 30 Nm
13 - Tornillo
- Tornillo de aluminio M 9
- Sustituir tras el desmontaje
- 15 Nm y apretar 180º
14 - Tornillo
- Tornillo de aluminio M 9
- Sustituir tras el desmontaje
- 15 Nm y apretar 180º
15 - Unidad de mando
- (Eje selector con tapa)
- Desmontar y montar con el cambio montado:
- En vehículos con motor turbodiésel, desmontar la carcasa del filtro
de aire completa.
- En vehículos con motor de gasolina, desmontar la carcasa del filtro
de aire completa.
- En caso dado, desmontar la batería y su soporte.
- La escuadra de retención para ajustar el mecanismo de accionamiento del cambio
no deberá estar metida.
- Desmontar los cables de mando y la bieleta de selección.
- Desenroscar el tornillo de retención.
- Desmontar el sensor de la posición de punto muerto -G701- si lo
lleva.
- Desenroscar los tornillos y extraer la unidad de mando.
- El montaje se efectúa en el orden inverso y hay que sustituir el
anillo toroidal y los tornillos.
16 - Tornillo
- Sustituir tras el desmontaje
- 20 Nm
17 - Anillo toroidal
- Sustituir tras el desmontaje
18 - Carcasa del embrague
19 - Carcasa del cambio
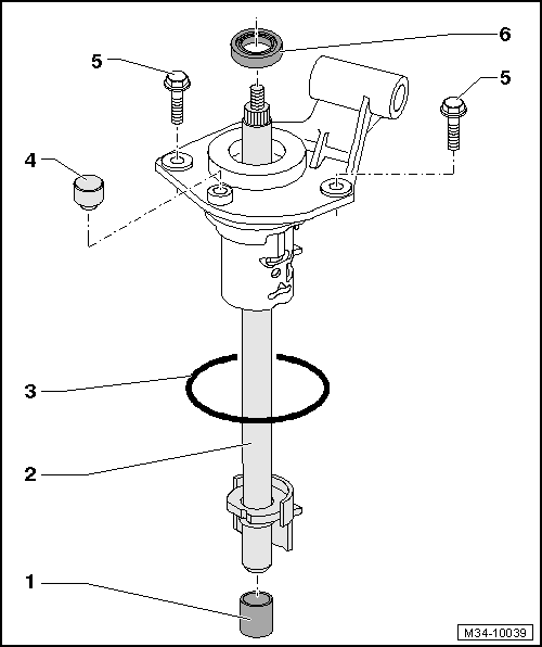
Cuadro de montaje - Unidad de mando

1 - Casquillo de cojinete
- Del eje selector
- Desmontar y montar
2 - Unidad de mando
- Consta de eje selector y tapa del eje selector
- Las piezas no se pueden separar
- Se puede desmontar y montar con la caja de cambios montada
3 - Anillo toroidal
- Colocar en la ranura de la tapa del eje selector
- Colocar con aceite para engranajes
- Sustituir tras el desmontaje
4 - Caperuza
- Para desaireación de la caja de cambios
5 - Tornillo
- Para fijar la unidad de mando a la carcasa del cambio
- Par de apriete
- Sustituir tras el desmontaje
6 - Retén del eje selector
Cuadro de montaje - Árbol primario, árboles secundarios, diferencial y barras
de mando
Cuadro de montaje - Árbol primario, árboles
secundarios, diferencial y barras de mando, tracción delantera

1 - Árbol secundario de la 1ª hasta la 4ª marcha
- Desarmar y ensamblar
- Posición de montaje
2 - Barra de mando con horquilla de la 1ª y 2ª marcha
3 - Barra de mando con horquilla de la 3ª y 4ª marcha
4 - Árbol secundario de la 5ª/6ª y marcha atrás
- Desarmar y ensamblar
- Posición de montaje
5 - Barra de mando con horquilla de la 5ª y 6ª marcha
6 - Horquilla de la marcha atrás
7 - Árbol primario
- Posición de montaje
- Desarmar y ensamblar
- Sustituir el cojinete ranurado de bolas que va sobre el árbol primario
cuando se desmonte
8 - Arandela de ataque
- Colocarla encima del árbol de la marcha atrás
9 - Árbol de la marcha atrás
10 - Arandela de ataque
11 - Dispositivo de purga
- Acoplar al bombín de embrague
12 - Carcasa del embrague
13 - Retén del árbol primario
14 - Anillo toroidal
- Encajar en el empalme
- Aplicarle líquido de frenos antes del montaje
15 - Bombín de embrague con collarín de desembrague
16 - Tornillo
- 3 unidades
- Sustituir tras el desmontaje
- Desmontar y montar
17 - Tornillo cónico
18 - Eje abridado derecho
- Con muelle de compresión y anillo cónico
- Desmontar y montar
- Ensamblar
19 - Diferencial
Posición de montaje de los árboles y las barras de mando en
el cambio
1 - Árbol primario
2 - Árbol secundario de la 1ª hasta la 4ª marcha
3 - Árbol secundario de la 5ª/6ª y marcha atrás
4 - Árbol de la marcha atrás
A - Barra de mando de la 3ª y 4ª marcha
B - Barra de mando de la 1ª y 2ª marcha
C - Barra de mando de la 5ª y 6ª marcha
D - Horquilla de la marcha atrás
La horquilla de la marcha atrás
-pos. D- va alojada en la barra de mando de la 5ª y 6ª
marcha -pos. C-.

Cuadro de montaje - Horquillas del cambio

1 - Elemento amortiguador de goma
- Sacar y colocar en la barra de mando con la mano
2 - Barra de mando con horquilla de la 1ª y 2ª marcha
3 - Barra de mando con horquilla de la 3ª y 4ª marcha
4 - Barra de mando con horquilla de la 5ª y 6ª marcha
5 - Horquilla de la marcha atrás
- Va alojada en la barra de mando con horquilla de la 5ª y 6ª marcha
LEER SIGUIENTE:
Cuadro de montaje - Carcasa del cambio
1 - Carcasa del cambio
En caso de sustitución: ajustar los árboles secundarios y el diferencial
Modificaciones en el alojamiento de la tapa
Fijación de la caja de cambios al soporte
para motores y cajas de cambios
Herramientas especiales, equipos de
comprobación y medición y dispositivos auxiliares necesarios
Caballete de suje
VER MAS:
Freno de estacionamiento
Utilice el freno de estacionamiento eléctrico para mantener el vehículo detenido
cuando está estacionado. Cuando se acciona el freno de estacionamiento, puede soltarlo
de forma manual o automática.
■ Para accionarlo El freno de estacionamiento eléctrico se puede
a
Con el botón de pantalla
Pulse el botón [SETUP] Seleccione
[Display]
Ventana emergente de modo
[Mode Pop up] Cambia a [On] Modo
de selección
En estado activado, pulse el botón [RADIO] o [MEDIA] para visualizar la
ventana emergente de cambio del modo.
Desplazamiento del texto
[Text Scro